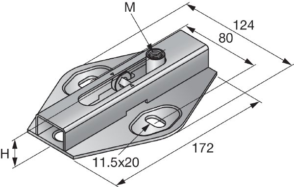
MRG 2,0 NEW MRG 2,0 NEW Thread - M: M10, M12 Height - H: 33 mm Maximum load - F: 2 kN Features & Applications Features Can be used for suspended or standing installations Matched loading classes suitable for Hilti pipe rings Temperature-resistant up to 300° C as no there are no plastic parts Stiffened base plate suitable for MQ channel installation system Load classes matched to Hilti pipe rings
Technical Data
-
Thread - M
-
M10, M12
-
Height - H
-
33 mm
-
Maximum load - F
-
2 kN
-
Material composition
-
S235JRG - DIN EN 10025
-
Surface finish
-
Galvanized
-
Temperature resistance
-
-40 - 300 °C
-
Base material type
-
Concrete
-
Max. displacement
-
80 mm
-
Coefficient of sliding friction
-
0.08
-
Weight
-
0.68 kg